• 索骥案件协同管理平台

    1. 1.助力企业案件标准化管理,各类案件节点灵活可控;
    2. 2.专属律师全流程协同办案,海量律师资源轻松匹配;
    3. 3.小程序协作高效便捷,多种辅助工具实时赋能;
    4. 购买咨询:0755-26913451
  • 律所案件展示系统

    1. 整合诉讼案件审结数据和代理机构数据信息,全景展示:
    2. 1.百万量级知识产权审结诉讼数据支撑
    3. 2. "数字化"个人、团队和机构执业经验和成绩
    4. 3.拓客展业和实力宣讲的"最佳神器"
    5. 购买咨询:+86-010-82005878
  • 商机线索检索系统

    1. 整合诉讼案件审结数据和工商数据,赋能代理人及代理机构:
    2. 1.完整覆盖知识产权诉讼权利人数据
    3. 2.及时公开诉讼权利人的相关数据信息
    4. 3.最佳交互,快速定位所需商机线索数据
    5. 购买咨询:+86-010-82005878
典型案例

江苏固耐特围栏系统股份有限公司与河北振兴金源丝网集团有限公司、厦门高诚信工程技术有限公司、厦门中联永亨建设集团有限公司侵害发明专利权纠纷一审民事判决书

  • 案件性质:民事 一审 判决书
  • 案号:(2020)闽02民初1188号
  • 案件地区:福建省
  • 立案年度:2020
  • 裁判日期:2021年08月**日
  • 裁判结果驳回原告诉讼请求
  • 案由侵害发明专利权纠纷
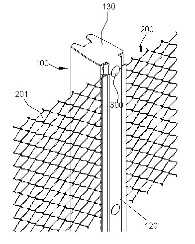
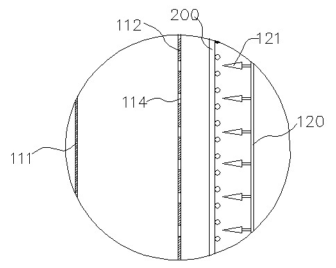
  • 相关专利号201110403257.8     
  • 当事人:
    原告:江苏固耐特围栏系统股份有限公司。

    法定代表人:徐律,董事长兼总经理。

    委托诉讼代理人:宋国华,该公司员工。

    被告:厦门高诚信工程技术有限公司。

    法定代表人:刘晓苍,董事长。

    委托诉讼代理人:王倩,北京德恒(厦门)律师事务所律师。

    委托诉讼代理人:解万均,北京德恒(厦门)律师事务所实习律师。

    被告:厦门中联永亨建设集团有限公司。

    法定代表人:林惠斌,董事长。

登录/注册后即可查看全部详情,请登录注册